Imagina enfrentarte a un jefe por décima vez, solo para que un «fantasma» digital de ti mismo intervenga y termine el trabajo. Sony acaba de patentar una radical tecnología de IA que podría cambiar la forma en que manejamos la frustración.

La última patente de Sony, que resurgió a principios de 2026, detalla un sistema conocido como «Ghost Assistance» (Asistencia Fantasma). Sin embargo, esto no es solo una simple pista de texto o un rastro brillante en el suelo.
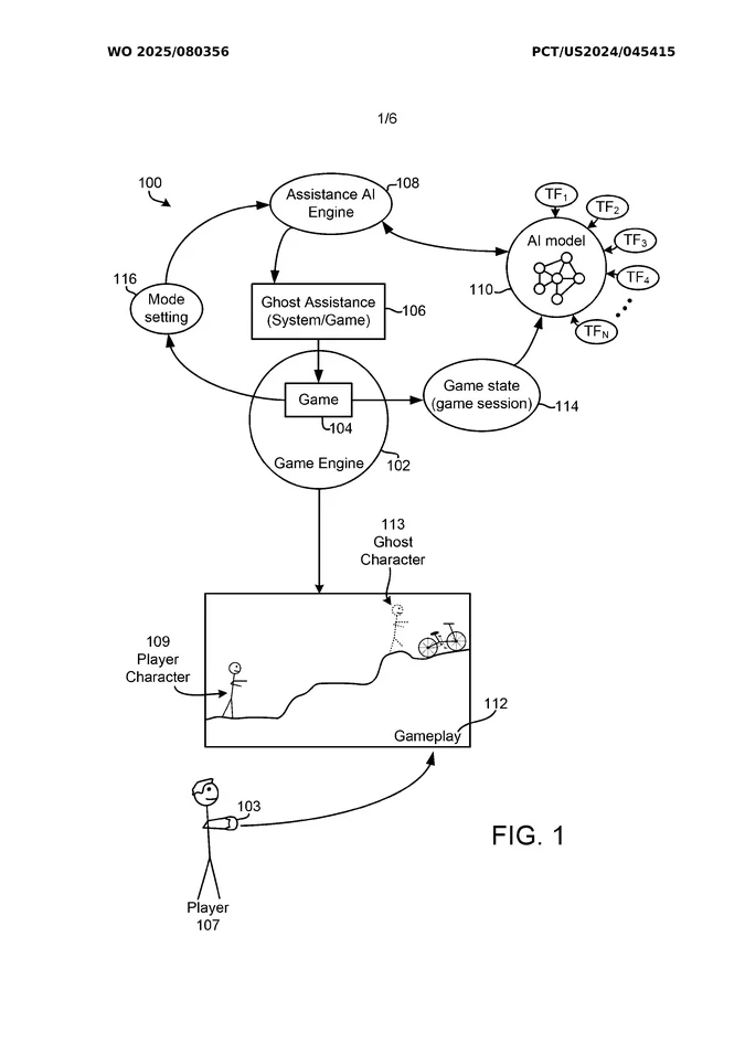
Tal como detalla VGC, la patente describe cómo, en lugar de cerrar el juego, pronto podrías invocar a un asistente de IA, o «Ghost Player», que aprende exactamente cómo juegas.
👉 LEE TAMBIÉN: Filtraciones de PS6: Todo lo que sabemos sobre la consola de próxima generación
Sony AI Gaming Ghost: ¿El fin de quedarse atascado?
La tecnología utiliza un motor de asistencia de IA entrenado con miles de horas de metraje de juego de la comunidad. Crea un personaje «Fantasma» que aparece en tu sesión en vivo para demostrar exactamente cómo superar un obstáculo específico.
Ya sea que estés atrapado en un puzzle complejo en Uncharted o en un jefe que requiere precisión milimétrica en Elden Ring, la IA analiza el estado actual de tu juego y proporciona una solución personalizada.
IA de PlayStation vs. Autonomía del Jugador
La patente describe dos modos principales: Modo Guía y Modo Completo.
En el Modo Guía, el fantasma actúa como un entrenador, realizando las acciones necesarias mientras observas, y luego te devuelve el mando. El Modo Completo va un paso más allá, permitiendo que la IA tome el control total y complete el segmento por ti.
Esto plantea una pregunta enorme. ¿Mata esto la satisfacción de ganar? Superar un desafío es una parte fundamental del «alma» del gaming.
Si una IA puede saltarse las partes difíciles, el valor de ciertos Trofeos o el prestigio de superar un título difícil podrían desvanecerse. Sin embargo, para jugadores con tiempo limitado o necesidades de accesibilidad, es un cambio potencial en las reglas del juego.
Sony también insinúa que esta IA podría ser conversacional, utilizando lenguaje natural para explicar por qué realiza ciertos movimientos. Es una evolución de las tarjetas de «Ayuda de juego» de PS5, pasando de vídeos estáticos a un compañero de aprendizaje activo.
¿Vale la pena el Sony AI Gaming Ghost?
Si se implementa, esto supone una victoria masiva para la accesibilidad. Elimina la necesidad de salir a YouTube para buscar una guía, manteniéndote inmerso en el mundo del juego. Pero para los puristas, se siente como un «botón de salto».
¿Crees que una IA tomando el control del mando es una herramienta útil o es la muerte del desafío?
Descargar Allkeyshop Browser Extension Gratis
Para todas las últimas noticias de videojuegos, trailers y las mejores ofertas, añádenos a tus favoritos.
Puedes encontrar las mejores y más baratas ofertas online para CD keys, códigos de juegos, tarjetas regalo y software antivirus de los vendedores de keys verificados en nuestra página.
Para no perderte ninguna noticia en Allkeyshop suscríbete en
Noticias Google
.